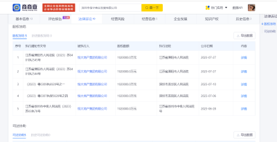
商商查數據顯示,近日,恆大地產集團有限公司新增股權凍結信息,凍結股權數額爲102億人民幣,股權被執行企業爲深圳市恆寧商業發展有限公司,凍結期限自2023年7月27日至2026年7月26日,執行法院爲江蘇省溧陽市人民法院。值得一提的是,此前,恆大地產集團有限公司持有該公司102億元股權已多次被凍結。


商商查風險信息顯示,目前恆大地產集團有限公司存在數百條被執行人信息,被執行總金額超430億元,同時,還存在數百條限制消費令、終本案件以及股權凍結信息,並數十次被列爲失信被執行人(老賴)。

此外,恆大地產集團有限公司子公司恆大地產集團(深圳)有限公司近日也新增多個股權凍結信息,其持有的深圳光恆新三號投資企業(有限合夥)4.8億元股權、深圳市鴻騰投資管理有限公司21億余元股權等也均被再次凍結。
追加內容
本文作者可以追加內容哦 !
標題:恆大地產所持超百億股權再被凍結!被執行總金額超430億元
地址:https://www.twetclubs.com/post/18363.html